| 30.12.2018, 17:02 | |
ЕДИНИЦЫ ИНФОРМАЦИИИтак, с точки зрения электроники, упрощенно, единицей информации является изменение амплитуды (напряжения, тока или частоты) сигнала на определенную величину (аналоговая форма) или наличие (отсутствие) в определенное время импульса (цифровая форма). В связи с тем, что цифровая форма заняла лидирующее место во всех сферах обработки, хранения и преобразования информации остановимся на ней. Минимальной единицей, как уже было сказано выше, является «бит», а 8 бит образуют «байт». В электронных схемах байт обычно представлен 9 битами, так как присутствует еще один контрольный разряд, бит паритета, который дополняет информацию, содержащуюся в байте «до нечета». Этот разряд нужен для оценки достоверности передаваемой информации электронными устройствами. Это чисто служебная информация, необходимая аппаратным средствам, но никак не пользователям. В формировании или кодировании какого-либо символа или какой-либо цифры этот разряд не участвует. Для работы с буквами и стандартными символами каждой букве (символу) ставится в соответствие восьмибитовый код и составляется так называемая кодовая таблица (для IBM PC это ASCII, стандарт США), содержащая 256 символов (столько символов можно закодировать в 8 битах). * - Кодирование информации по таблице ASCII находится на этой вкладке сайта под названием «Таблица ASCII». Информация хранится в “памяти” компьютера. В данном контексте “память” условное понятие отражающее способность некоторого абстрактного устройства “запомнить” (“записать”) информацию. Единицей измерения памяти является - 1 байт, который равен 8 битам. Например, двоичная запись вида 11110001 имеет объем 1 байт. Любая комбинация из 8 нулей и единиц, в любой последовательности, имеет объем 1 байт. Кроме того, в двоичной системе определяются понятия больших объемов памяти 1 килобайт= 1024 байтам, 1 мегабайт=1024 килобайтам, 1 гигабайт=1024 мегабайтам. Для хранения информации на внешних носителях (жестких или гибких дисках, магнитной ленте) возникла необходимость пронумеровать блоки информации, относящиеся к конкретной программе. Самым простым способом в этом случае оказалось присвоение таким блокам символьного имени, удобного для человека. Этот поименованный отрезок информации, содержащий внутри себя сведения о своих свойствах (размер, атрибуты) получил название файл. Файлы обычно объединяются по функциональному назначению и хранятся в папках (директориях, каталогах, это синонимы одного и того же понятия). А тот носитель, на котором хранится нужная информация (дискета, жесткий диск) называется томом (или корневым каталогом). ЛОГИЧЕСКИЕ УРОВНИНа рис. 1.3 показаны диапазоны напряжения, соответствующие двум логическим уровням (высокому и низкому) для наиболее распространенных семейств цифровых элементов ТТЛ (элементов транзисторно-транзисторной логики) и КМОП (элементов кремний, металл, оксид, полимер – структур). В основе первых (ТТЛ) находятся биполярные транзисторы, управляемые напряжением. Вторые (КМОП) состоят из полевых транзисторов, что объясняет их столь малое потребление тока. Для каждого семейства определены допустимые значения как выходного, так и входного напряжений, соответствующие двум уровням — высокому «1» и низкому «0».
Рис. 1.3. Логические уровни ТТЛ 5 В и КМОП 5 В Выделенные области над горизонтальной осью показывают установленные диапазоны, в пределах которых должен находиться каждый из логических уровней выходного напряжения. Стрелками указаны значения напряжений (для высокого и низкого уровней), ставшие типовыми на практике. Заштрихованные области под горизонтальной осью показывают установленные диапазоны, в пределах которых должны находиться логические уровни входного напряжения. Отдельными стрелками указаны типовые значения порогового напряжения, представляющего собой границу между высоким и низким логическим уровнем. Во всех случаях высокий логический уровень более положителен, чем низкий. Следует различать минимальные, типовые и максимальные значения, указываемые в спецификациях на электронные приборы [3]. Фирма-изготовитель гарантирует, что значения параметров элементов будут лежать в диапазоне между максимальным и минимальным значениями, причем для большинства элементов они будут близки к типовым. Типовые значения это те значения, которые используются при проектировании схем; однако проектировать схемы нужно так, чтобы они правильно работали во всем диапазоне изменения параметров от минимального до максимального значения. То есть хорошая схема сохраняет работоспособность и при наихудшем сочетании минимальных и максимальных значений параметров элементов. Логические уровни. Импульсы и прямоугольные сигналы широко используются в цифровой электронике. В цифровой схеме состояние любой точки в любой момент времени определяют заранее известные уровни напряжения. Эти уровни называют просто «высокий» и «низкий». Они соответствуют значениям «истина» (1) и «ложь» (0) булевой алгебры логики. В цифровой электронике точные значения напряжений не играют роли. Задача состоит в том, чтобы различать только уровни напряжения. В связи с этим для каждого семейства цифровых логических элементов определены допустимые значения высокого и низкого уровня напряжения. Запас помехоустойчивости. В идеальном случае интерпретация логических уровней не должна вызывать ни неопределенности, ни неоднозначности. К сожалению, в реальных сигналах всегда действуют помехи (шум). Следовательно, важнейшим свойством логических схем становится способность подавлять помехи. Особенно это относится к устройствам, работающим в условиях сильных электрических помех. Способность логической схемы подавлять помехи измеряется запасом помехоустойчивости и определяется как разность между минимальными значениями выходного и входного напряжений в состоянии высокого уровня и максимальными значениями выходного и входного напряжений в состоянии низкого уровня. Запас помехоустойчивости для стандартных ТТЛ-схем обычно составляет 0,4 В, а для КМОП-схем равен 1/3 Uн.п. (положительное напряжение питания), т.е. для 5 вольтовых это 1,67 В.
Рис. 1.4. Запасы помехоустойчивости ТТЛ и КМОП Моностабильные и бистабильные схемы. В бистабильных схемах выходные состояния логических элементов сохраняют логические 0 или 1 в зависимости от логических состояний на их входах. При неизменяющихся входах выходные состояния также остаются постоянными. Однако довольно часто вместо фиксированного логического состояния требуется короткий импульс, т. е. переход 0 – 1 – 0 или 1 – 0 – 1. Схема, которая реализует эту функцию, имеет только одно стабильное (устойчивое) состояние и называется моностабильной. Тристабильная логика. Вместе с тем большинство сложных микросхем, предназначенных для микропроцессорных систем, разработаны с учетом возможности их подключения к шине или иногда называют к микропроцессорной магистрали или к каналу. В электронных схемах очень часто эти разные слова и понятия являются синонимами. Подробнее на них остановимся позже. К шине разрешается подсоединять выходы и входы нескольких микросхем, поэтому возникает опасность одновременного появления на ней конфликтующих логических уровней. Чтобы преодолеть эту трудность, требуются логические устройства, которые не только формируют на своих выходах логический 0 и логическую 1, но и при необходимости вообще отключаются от шины. По существу, в них появляется третье, его называют высокоимпедансное состояние, поэтому такие устройства (микросхемы) относят к семейству тристабильной (трехустойчивой) логики. По существу это состояние является «обрывом» (для ТТЛ - логики это 1,5 В), т.е. «открытый вход» микросхемы. Это некое неопределенное состояние между 0 и 1, при котором нет никакого потребления энергии. Специальный входной сигнал, обычно называемый разрешением EN или выбором кристалла CS, переводит тристабильную микросхему в рабочее состояние. В любой вычислительной системе, в которой должны обмениваться данными несколько функциональных блоков, необходимо иметь устройство сопряжения. Центральный процессор (ЦП), память, а также различные периферийные устройства должны иметь возможность передавать и принимать 16-разрядные слова, и было бы неудобно использовать для соединения каждого устройства с другим индивидуальный 16-жильный кабель. Для решения этой проблемы используется так называемая шина (или магистраль) данных (data bus), т. е. один 16-жильный кабель, доступный для всех устройств. Такая структура аналогична телефонному каналу коллективного пользования: в каждый момент времени «говорить» («передавать данные») может только одно устройство, а остальные могут только «слушать» («принимать данные»). При использовании шинной системы необходимо иметь соглашение о том, кому разрешено «говорить». В связи с этим употребляются такие термины, как «арбитр шины», «ведущее устройство» и «устройство управления шиной». Для возбуждения шины нельзя использовать вентили (или другие схемы) с активным выходом, поскольку их нельзя отключить от общих информационных линий (в любой момент времени выходы устройств, подключенные к шине, будут находиться в состоянии Высокого (1) или Низкого (0) уровня). Именно для этого случая необходим вентиль, выход которого может находиться в «обрыве», т. е. быть «открытым». Такие устройства имеют две разновидности, которые носят названия «элементов с тремя состояниями» и «элементов с открытым коллектором». В выходной схеме вентиля с открытым коллектором отсутствует транзистор, являющийся активной нагрузкой (рис. 1.5).
Рис. 1.5. Базовый элемент 2И-НЕ с открытым коллектором При использовании таких элементов внешний нагрузочный резистор можно подключить к любому источнику. Величина этого резистора не является критичной: при малых значениях резистора обеспечиваются повышенные быстродействия и помехоустойчивость, однако повышаются рассеиваемая мощность и нагрузочный ток выходного каскада. Для ТТЛ типичные значения лежат в пределах от нескольких сотен до нескольких тысяч Омов. Логические схемы с тремя состояниями. Недостатком ИС с открытым коллектором являются их пониженные быстродействие и помехоустойчивость по сравнению с обычными схемами, использующими активную нагрузку. Длинная шина может иметь значительную емкость и, как следствие, склонность к воздействию помех. Для решения этой проблемы применяются логические элементы с тремя состояниями (рис. 1.6 в). Название этих схем может ввести в заблуждение, так как на самом деле они не являются логическими элементами с тремя уровнями напряжений. Это самые обычные логические схемы, которые имеют третье состояние выхода «обрыв». Они совмещают в себе все преимущества (высокую помехоустойчивость и быстродействие) элементов с активной нагрузкой и способность работать на общую шину, которой обладают схемы с открытым коллектором. Схемы с тремя состояниями имеют отдельный запирающий вход, с помощью которого они могут устанавливаться в третье состояние независимо от того, какие сигналы присутствуют на логических входах. Выходы с тремя состояниями имеются во многих интегральных микросхемах: счетчиках, регистрах и т. п., a также в вентилях и инверторах.
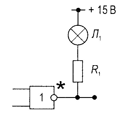
Рис. 1.6. Выходы микросхем а) обычного элемента, б) элемента с открытым коллектором, в) элемента с тремя состояниями Ввиду улучшенных характеристик их используют обычно в качестве шинных формирователей вместо схем с открытым коллектором. Устанавливать нагрузочный резистор в этом случае не требуется. Однако это не значит, что во всех случаях необходимо применять только элементы с тремя состояниями. Очень распространенным применением схем с открытым коллектором является управление внешней нагрузкой, которая должна подключаться к источнику положительного напряжения, превышающего напряжение питания микросхемы. Так, например, в схемах индикации требуется подключить маломощную 12-вольтовую лампочку к выходу логического элемента и источнику напряжения в 15 В. Самым простым решением этой задачи будет применение элемента с открытым коллектором с ограничивающим ток резистором (рис. 1.7):
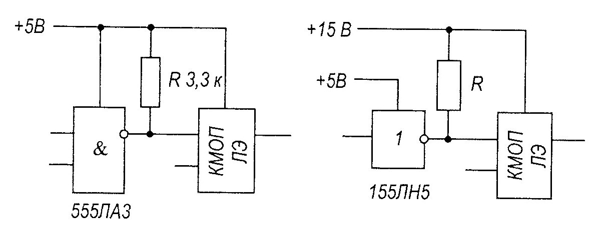
Рис. 1.7. Применение элемента с открытым коллектором в схеме индикации Логический элемент с открытым коллектором используют также для повышения уровня логической единицы выходных сигналов, в частности для согласования выходов микросхем ТТЛ со входами КМОП при напряжении питания последних U и.п.> + 5 В. Если ТТЛ и КМОП имеют одинаковое напряжение питания ( + 5 В), то можно использовать логический элемент ТТЛ со стандартным выходом, но для надежности переключения элемента КМОП рекомендуется подключать резистор R, как показано на рис. 1.8 а (уровень логической единицы на выходе элемента ТТЛ повышается).
Рис. 1.8. Схемы согласования уровней ТТЛ и КМОП На рис. 1.8 б показана схема согласования уровней при напряжении питания КМОП Uи.п = + 15 B (все входы КМОП должны быть согласованы с ТТЛ уровнями при подключении их к логическим элементам ТТЛ - серий). В заключении следует отметить, что в основном, внутри устройств и блоков компьютерных систем применяются моностабильные и бистабильные элементы, а соединения между ними выполняются при помощи тристабильных логических элементов.
Контрольные вопросы:
* - Тесты по этой теме находятся на вкладке «Тесты» этого сайта
Литература:
| |
|
| |
| Просмотров: 823 | Загрузок: 0 | | |
| Всего комментариев: 0 | |



